kmo-Vorverdichtungslösung
Unsere zum Patent angemeldete Vorverdichtungslösung optimiert bestehende Kompressorsysteme, ohne sie zu ersetzen. Durch gezielte Vordruckerhöhung vor der Hauptstufe wird der gesamte Anlagenwirkungsgrad verbessert, Lastwechsel reduziert und der Regelbereich erweitert – ein Ansatz, der Energie spart, Schaltungen vermeidet und die Lebensdauer der Maschinen verlängert.

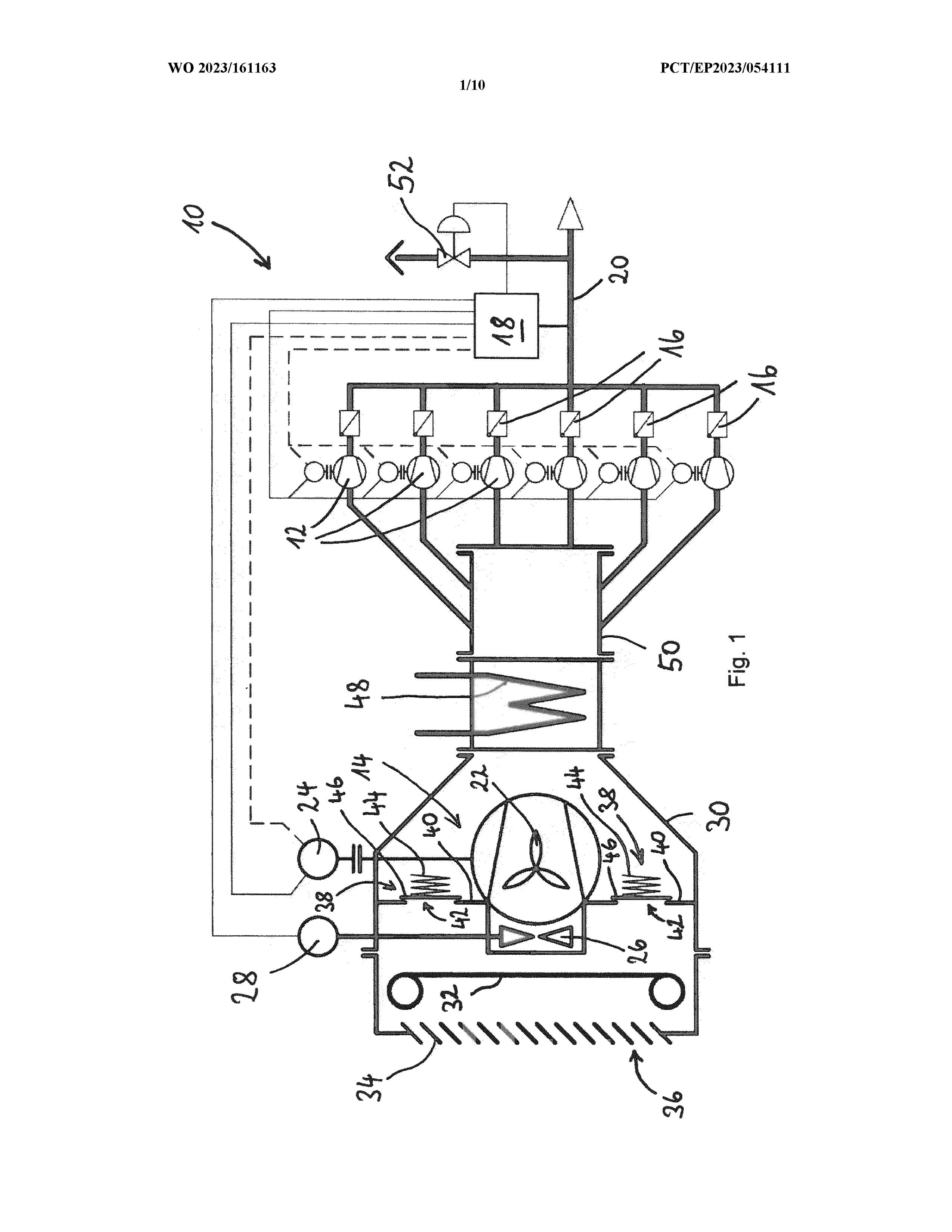
Die kmo-Vorverdichtungslösung ist kein neuer Kompressor, sondern eine intelligente Systemergänzung. Sie nutzt ein einfaches, aber wirkungsvolles Prinzip: Ein vorgeschaltetes Verdichtermodul (z.B. Booster oder Gebläse) erzeugt einen leicht erhöhten Vordruck, den die Hauptkompressoren deutlich effizienter verarbeiten. So sinkt der spezifische Energiebedarf, und die Maschinen laufen ruhiger und im optimalen Bereich. Das Konzept wurde aus jahrzehntelanger Feldpraxis entwickelt und ist universell in bestehenden Anlagen nachrüstbar – unabhängig vom Hersteller. Besonders in Anlagen mit schwankendem Bedarf, vielen Kompressoren oder häufigen Schaltungen erschließt die Vorverdichtungslösung Einsparpotenziale, die bisher ungenutzt blieben. Sie bildet die Brücke zwischen klassischer Drucklufttechnik und smarter Systemoptimierung – mit messbarem ROI und nachhaltiger Wirkung.
Relevantes Wissen – kompakt erklärt.
Unsere FAQs geben eine erste Orientierung.
Wenn Sie tiefer einsteigen möchten, sprechen Sie uns an – die eigentlichen Lösungen entstehen im Dialog.
Weil jeder Kompressor bei höherem Ansaugdruck effizienter arbeitet – und das meist deutlich.
Sie ist regelungsintegriert, auf Systemwirkungsgrad optimiert und arbeitet nur dann, wenn sie tatsächlich Nutzen bringt.
Nein. Die Lösung lässt sich in bestehende Anlagen integrieren – herstellerunabhängig und ohne Eingriff in die Grundarchitektur.
Je nach Anlagenstruktur 5 – 25 %, oft mit Amortisationszeiten von unter einem Jahr.
Sie reduzieren sich drastisch, da die Maschinen gleichmäßiger laufen – weniger Starts, weniger Verschleiß, längere Lebensdauer.
Nein – die Vorteile wirken bereits ab drei Kompressoren im Verbund oder bei häufig wechselnden Lastzuständen.
Sie arbeitet drucknetzgeführt, erkennt Bedarfsmuster und passt den Vordruck dynamisch an – das macht sie so effizient.
Überraschend einfach: Ein definierter Mess- und Steuerblock reicht aus, um den Booster intelligent anzubinden.
Wir liefern das Konzept, die Erfahrung und die Einbindung in bestehende Steuerungen – das Partnerunternehmen übernimmt Umsetzung und Service.
Weniger Stromkosten, stabilere Produktion, höhere Anlagenverfügbarkeit – und ein smarter Schritt Richtung nachhaltige Drucklufterzeugung.
DownloadS
Hier können Sie weitere Informationen herunterladen.
Sollten weitere Unterlagen benötigt werden, sprechen Sie uns gerne an!
